河南省辉县市王守珍设计了一种新型的消防直升飞机,1987年我国大兴安岭发生火灾,王守珍给火灾指挥部发电报请求用“爆炸法”灭火,后又看到别的国家发生森林火灾,2011年夏天我国大兴安岭又发生火灾,备受王守珍的心非常关注。
2009年2月10日(元宵节)放烟花引起央视新址火灾,消防车上的水枪只能达到60米;2010年11月15日,上海市中心静安区一幢正在进行外部修缮、28层高的教师公寓燃起大火,因消防车上的水枪只能打到20层楼灭火不到位,经调查,死伤者合计达100多人 ;2011年2月3日(今年大年初一)零点13分,沈阳五星级皇朝万鑫酒店发生严重火灾,这是目前东北第一高的五星级酒店,A、B、C三座,分别高184米、150米、150米,由于没有60米以上的消防车,从外灭火几无可能,只能内攻。但由于可工作电梯数量少,大部分消防官兵需通过楼梯徒手携带重达70斤的消防器材,体能消耗非常大,行动异常困难,投资30亿元的大楼还是变得面目全非。为了解决这一难题,2011年春节王守珍没有休息,设计出了一种新型的消防直升飞机,并申请了专利,2011年9月份已被国家专利局受权,专利号:ZL 2011 2 0063398.5
它的技术方案:
一,将现有的直升飞机进行设计改建,把飞机舱改建成水仓,在水仓的下部留一空间,和消防室相吻合,(其实消防室就是消防直升飞机的一个特殊起落架),在消防室顶部水仓体上固定一架卷扬机,卷扬机钢揽吊住消防室,卷扬机电源和直升飞机电源相连接,控制电源连接在消防室电器控制台和飞机驾驶室,这样消防人员和飞机驾驶员都可以控制消防室使它下降和上升;直升飞机和消防室连接一根电揽线,电揽线连接在消防室的控制台上(控制台实际是设在消防水枪的手柄上,全部采用微电脑控制),一路,控制卷扬机的调控器使消防室上升、下降和停止;另1路电线为电源线,利用飞机电源来控制消防室内的电器,1,照明;2,空调;3,屋体后边主管方向的螺旋桨;,4,屋体左右主管前进或后退的两个螺旋桨以及摄像头等。消防室内的控制台上对3个螺旋桨,都采用全部采微电脑控制,可以使消防室后边主管方向的螺旋桨正转或反转、快转或慢转、固定速度旋转,把消防室变成一个被掉在直升飞机下的小飞行器,用途是根据现场的自然情况调整消防水枪对火点的准确度;另可以控制消防室左右两侧主管前进或后退的两个螺旋桨,用途是根据现场的自然情况调整消防水枪对着火点的远近距离,5,另在消防室的前方设一个抓勾气压抢,如果发现高楼某室内着火,抓勾气压抢把带钢丝的抓勾射向窗沿勾紧人为地拉近窗前将室内大火扑灭,和抢救生还者。
二,消防室上设有摄像头信号传输在飞机驾驶室的荧光屏上,飞机驾驶员可以随时观察到消防室的工作状况。直升飞机上设有红外线遥感器和无线报话机,可以准确调整定位直升飞机自身灭火的位置,也同时可以随时通过无线报话机联系调整直升飞机的位置。
三,消防室的结构:采用高强、轻质金属防火材料做成框架,装上防火玻璃钢玻璃,站在消防室内可以看到四周及上下的环境;在内部装有照明灯、空调、摄像头、设立消防人员工作室、建一个较大的尼龙水管和电揽线的储藏室,尼龙水管和电揽线要粘结在一起,储藏室向上有一个口,可使尼龙水管和电揽线抽出和缩进自如;在消防室后边设一个主管方向的螺旋桨、可以随时调控消防水枪方向对火区的准确度;消防水枪安装在消防室前方,用万向节作支架固定在消防室的框架上。
四,在消防室内设有:电器控制台、照明灯、空调、摄像头、泡沫灭火器、无线报话机、防毒面具等。(电器控制台设在消防水枪的手柄上,)
五,消防直升机可生产三类型,1,森林消防型,即卷扬机钢揽、尼龙水管和电揽线的长度可设80-150米;2,一般城市型,卷扬机钢揽、尼龙水管和电揽线的长度可设150-300米;3,特处城市型,可生产300-500米型。
六,消防直升机要采用大型直升飞机、大型水箱为好。
它的优点:
1,消防直升机机动性强,不管在城市什么区域的高楼出现火情,它直接飞奔而去,不受人群、车辆、道路、障碍物等限制;2,覆盖面宽,它的消防直径可达几百公里;3,不管在什么山区森林出现火情,它直接飞奔而去,不受人群、车辆、道路、障碍物等限制;4,速度快,它比消防车不知要快多少多倍,可以及时把着火点消灭在盟芽状态;5,至上而下,目标准确;6,可以扑灭高层楼房着火,而且,不管多高建筑物或什么地形的森林着火,消防人员都可以接近目标近距离灭火,所以灭火彻底;7,对于森林着火的营救,在现代化的灭火中,它是现有洒水式的消防飞机的最好助手,可以节省大量的灭火人员、减少大量的灭火人员伤亡;8,现有的消防车去不到的地方它可以直接飞到,如:水上建筑物、高速公路在发生汽车追尾事故时发生的火灾;9,由于这种消防直升机灭火是从上向下灭火的,对于高楼消防它可有力地控制火苗的蔓延,喷出的水除了直接息灭上层火苗外,下流的废水还可以扑灭下方的火源,10,直升飞机机翼螺旋桨由于有强大的风力下吹,所以大火上升的烟雾到一定距离就被吹散,不会给直升飞机带来影响;11,它更可有效地给突发性灾区、干旱的山区人民群众及时提供用水;12,它可以把现有淘汰的军用直升飞机进行改装,可以节省大量的费用和资产;12,这种消防直升机如果应用发展起来,将来,它可以取代三分之一的现有的消防车;13,这种消防直升机它将是今后森林、山林、草原的守护神、防护墙;14,消防直升机生产技术比现有的军用直升机简单得多,如果作为商业生产,它可以赢得大量的利润。
这种新型的消防直升飞机设计人:机械工程师 王守珍
地址:河南省辉县市城北小官庄街, 电话:13781945855
邮箱:6291758@163.com QQ:568129970
后附:①新型的“消防直升飞机”示意图;②新的消防直升飞机电路控制示意图。

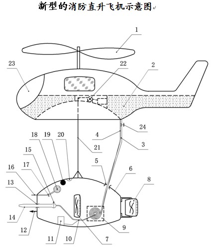
消防直升机示意图说明:1,直升飞机机翼;2直升飞机水箱;3消防水管;4,控制电揽;5尼龙水管和电揽线储藏室的上孔;6消防室,7,左右两边的螺旋桨8,后螺旋桨;;,9, 消防室内尼龙水管和电揽的仓; 10,尼龙水管和电揽分开点;11,控制台;12,抓勾气压抢13,万向节支架;14,消防水枪;15,消防水枪开关;16,泡沫灭火器嘴;17,,泡沫灭火器开关;18,,泡沫灭火器;19,空调;20,照明灯;21,钢揽;22,卷扬机;23,直升飞机驾驶室;24设在直升飞机驾驶室内的水管阀门。

注:“新型的消防直升飞机”也叫“直升飞机消防器”
我所设计的“直升飞机消防器”也完全具备了世界先进的消防直升飞机,它可以对高层楼消防,而且更是森林消防的必要装备,还可有效地给突发性事件灾区、及干旱的山区人民群众及时提供用水。我想在我国能生产出:有“我国自主知识产权的消防直升飞机”。能尽快满足我国各大城市和森林消防的需求不再进口其他国家的消防直升飞机,同时也可以出口到其他国家。
品牌是一个国家综合国力的集中体现,是一个企业综合竞争力的重要体现,也是员工价值大小的充分体现。
品牌是一个企业实力的象征,是一个企业的生命,更是一个企业信誉、荣誉和能力的真实写照。黑龙江省火电第三...